• 首页
  • 关于锦天禹

    关于锦天禹

    开云官方在线入口-开云(中国)于2012年在武汉市东西湖区注册成立,为民营股份制施工总承包企业,注册资金1.38亿元。现有注册建造师90余人、各类专业技术职称者100余人、员工200余人。下设市场部、工程部、财务部、综合部等4个主要职能部门,20余个施工管理团队。

  • 2023年6月是第22个全国“安全生产月”,主题是“人人讲安全、个个会应急”,我公司积极响应国家号召,于6月16日在公司培训室组织全体员工进行安全生产培训,旨在提高全体员工的安全意识和安全生产管理水平。

  • 工程实力

    工程实力

    湖北锦天禹建设工程有公司于2012年在武汉市东西湖区注册成立,为民营股份制施工企业,注册资金1.38亿元。现有员工300余人,其中各类专业技术职称者200余人,注册建造师50余人。下设经营部、工程部、财务部、法务部、综合部、安全环保部等6个主要职能部门,20余个施工管理团队。

  • 党建廉政
  • 人力资源

    人力资源

    公司毗邻东湖,雄踞于欢乐大道9号正堂时代大厦,办公环境优雅,人文气息浓郁,晋升空间宽广,福利待遇可观,多年来公司业务与时俱进,发展前景灿烂辽阔,蒸蒸日上鹏程万里。我们以人才成长为基础,以技术创新为动力,以回馈社会为目标,尊重人才,注重技术,感恩社会,是勇于担当敢于负责的良心企业,也是施展才能实现理想的华丽舞台。

  • 联系我们

    联系我们

    电话: 027-83390868 (综合部) 027-88159030 (市场部) 地址:武汉市洪山区欢乐大道9号正堂时代29楼(地铁4号线 8号线岳家嘴D 出口,公交线路348、392、581、618、810杨园南路欢乐大道口站)

当前所在位置 :>中标快讯

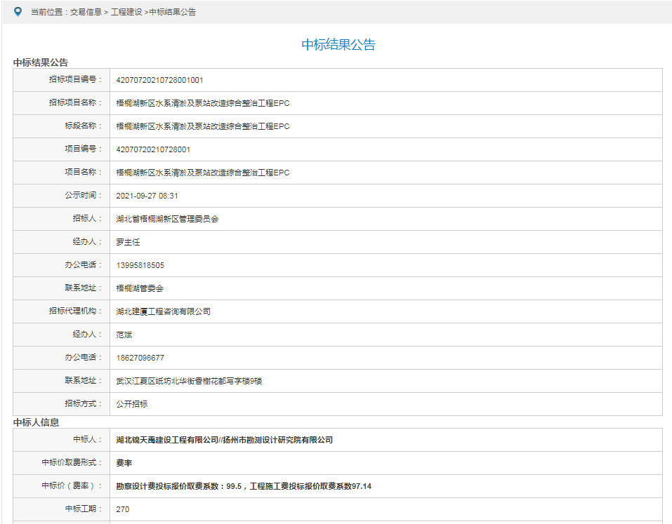
梧桐湖新区水系清淤及泵站改造综合整治工程EPC
2021-09-30 65

项目名称:梧桐湖新区水系清淤及泵站改造综合整治工程EPC


招标编码:42070720210728001001


招标人:湖北省梧桐湖新区管理委员会


相关网络截图:


梧桐湖新区水系清淤及泵站改造综合整治工程EPC.png


相关网络链接:梧桐湖新区水系清淤及泵站改造综合整治工程EPC中标结果公示

Copyright © 2019 开云官方在线入口-开云(中国) 版权所有

地址:武汉市洪山区欢乐大道9号正堂时代29楼

联系人:熊经理 电话: 027-83390868

友情链接

公司公众号

移动端二维码

Copyright © 2019 开云官方在线入口-开云(中国) 版权所有 [鄂ICP备18030960号-1]

免责申明 网站地图

鄂公网安备 37068502000016号 技术支持:中至胜网络

分享到: